Carcaça de Filtro Sanitário de Aço Inoxidável
Solicite uma cotação
Nossas soluções de carcaça de filtro sanitário são projetadas para atender aos padrões sanitários e de BPF. Oferecendo filtragem sanitária de alta vazão, nossas soluções de carcaça de filtro acomodam configurações variadas de filtros de cartuchos. O invólucro garante limpeza completa, drenagem completa e conformidade com a higiene, o que o torna a escolha ideal para setores como biotecnologia, produtos farmacêuticos e processamento de água pura.
Materiais de construção
| Carcaça do filtro e sistema de filtro | 304/316L |
| Válvula de ventilação/drenagem | 304/316L |
| Pernas | 304/316L |
| Anel O | Silicone/borracha fluorada/EPDM/PTFE |
| Variantes | Filtro de núcleo único, filtro de múltiplos núcleos, filtro de gás |
Métodos de Conexão
| Conexão | Grampo |
| Entrada/Saída | Conexão rápida |
| Válvula de ventilação | Válvula de liberação rápida |
| Válvula de drenagem | Válvula de liberação rápida |
| Medidor de pressão | Conexão rápida de 1,5 pol. |
Tratamento de Superfície
| Tipo de polimento | Polimento de espelhos/polimento eletrolítico |
| Precisão de polimento | Parede interna 0,3 μm/ Parede externa 0,4 μm |
Especificações
| Pressão de projeto | 0.6MPa/1.0Mpa |
| Temperatura operacional máxima | 130℃ |
| Método de esterilização | Online ou gabinete de esterilização: 121±2℃ 30min/ciclo |
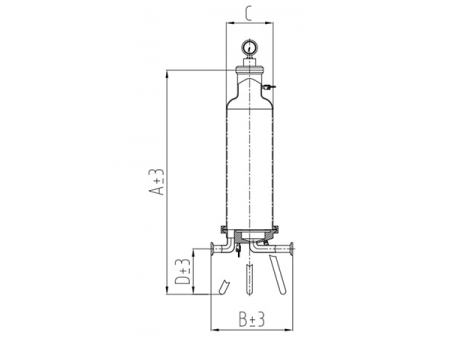
Diagrama 2D
Carcaça de filtro sanitário de cartucho único
| Número de núcleos | Comprimento | A Altura total (mm) | B Distância entre a entrada e a saída (mm) | C Diâmetro (mm) | D Altura da folga do compartimento (mm) |
| 1 | 10" | 590 | 187 | 101.6 | 132 |
| 20" | 870 | 187 | 101.6 | 132 | |
| 30" | 1110 | 187 | 101.6 | 132 | |
| 40" | 1370 | 187 | 101.6 | 132 |
Carcaça de filtro sanitário com vários cartuchos
| Número de núcleos | Comprimento | A Altura total (mm) | B Distância entre a entrada e a saída (mm) | C Diâmetro (mm) | D Altura da folga do compartimento (mm) |
| 3 | 10" | 760 | 312 | 200 | 200 |
| 20" | 1040 | ||||
| 30" | 1270 | ||||
| 40" | 1540 | ||||
| 5 | 10" | 790 | 410 | 250 | 200 |
| 20" | 1070 | ||||
| 30" | 1300 | ||||
| 40" | 1570 | ||||
| 7 | 10" | 800 | 426 | 267 | 200 |
| 20" | 1080 | ||||
| 30" | 1310 | ||||
| 40" | 1580 | ||||
| 9 | 20" | 1160 | 460 | 300 | 200 |
| 30" | 1390 | ||||
| 40" | 1660 | ||||
| 12 | 30" | 1440 | 560 | 337 | 200 |
| 40" | 1710 |
Aplicações
- Processamento de alimentos, produção de bebidas e processamento de laticínios.
- Biofarmacêuticos, cervejarias e produtos químicos finos.
Você também pode se interessar por
Productos relacionados
Deixe uma mensagem
Outros Produtos

